Resources: page=19
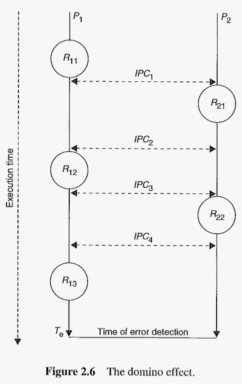
An edge case in Backward Error Recovery, where both processes might end up being terminated. This is illustrated through figure 2.6


Search
Jan 06, 2025, 1 min read
Resources: page=19
An edge case in Backward Error Recovery, where both processes might end up being terminated. This is illustrated through figure 2.6

